產品詳情

一、概述
渦輪流量計(以下簡稱TUF)是葉輪式流量(流速)計的主要品種,葉輪式流量計還有風速計、水表等。T
轉子的轉速(或轉數)可用機械、磁感應、光電方式檢出并由讀出裝置進行顯示和傳送記錄。據稱美國早在1886年即發布過 個TUF專利,1914年的專利認為TUF的流量與頻率有關。美國的 臺TUF是在1938年開發的,它用于飛機上燃油的流量測量,只是直至二戰后因噴氣發動機和液體噴氣燃料急需一種高精度、快速響應的流量計才使它獲得真正的工業應用。如今,它已在石油、化工、科研、國防、計量各部門中獲得廣泛應用。
流量計中TUF、容積式流量計和科氏質量流量計是三類重復性、 度 的產品,而TUF又具有自己的特點,如結構簡單、加工零部件少、重量輕、維修方便、流通能力大和可適應高參數等,是其他兩類流量計是難以達到的。
CY-LWGY系列渦輪流量計是吸取了國內外流量儀表 技術經過優化設計,具有結構簡單、輕巧、精度高、復現性好、反應靈敏,安裝維護使用方便等特點的新一代渦輪流量計,廣泛用于測量封閉管道中與不銹鋼1Cr18Ni9Ti、2Cr13及剛玉Al2O3、硬質合金不起腐蝕作用,且無纖維、顆粒等雜質,工作溫度下運動粘度小于5×10-6m2/s的液體,對于運動粘度大于5×10-6m2/s的液體,可對流量計進行實液標定后使用。若與具有特殊功能的顯示儀表配套,還可以進行定量控制、超量報警等,是流量計量和節能的理想儀表。
二、工作原理
圖1所示為渦輪流量傳感器結構簡圖,由圖可見,當被測流體流過傳感器時,在流體作用下,葉輪受力旋轉,其轉速與管道平均流速成正比,葉輪的轉動周期地改變磁電轉換器的磁阻值。檢測線圈中的磁通隨之發生周期性變化,產生周期性的感應電勢,即電脈沖信號,經放大器放大后,送至顯示儀表顯示。

圖1
渦輪流量計的流量方程可分為兩種:實用流量方程和理論流量方程。
(1) 實用流量方程
qv=f/K 公式1
qm=qvρ 公式2
式中 qv, qm ……分別為體積流量,m3/s,質量流量,kg/s;
f ……流量計輸出信號的頻率,Hz;
K ……流量計的儀表系數,P/m3。
流量計的系數與流量(或管道雷諾數)的關系曲線如圖2所示。由圖可見,儀表系數可分為二段,即線性段和非線性段。線性段約為其工作段的三分之二,其特性與傳感器結構尺寸及流體粘性有關。在非線性段,特性受軸承摩擦力,流體粘性阻力影響較大。當流量低于傳感器流量下限時,儀表系數隨著流量迅速變化。壓力損失與流量近似為平方關系。當流量超過流量上限時要注意防止空穴現象。結構相似的TUF特性曲線的形狀是相似的,它僅在系統誤差水平方面有所不同。

圖2 渦輪流量計特性曲線
傳感器的儀表系數由流量校驗裝置校驗得出,它完全不問傳感器內部流體機理,把傳感器作為一個黑匣子,根據輸入(流量)和輸出(頻率脈沖信號)確定其轉換系數,它便于實際應用。但要注意,此轉換系數(儀表系數)是有條件的,其校驗條件是參考條件,如果使用時偏離此條件系數將發生變化,變化的情況視傳感器類型,管道安裝條件和流體物性參數的情況而定。
(2) 理論流量方程
根據動量矩定理可以列出葉輪的運動方程
公式3
式中 J: 葉輪的慣性矩;
dw/dt: 葉輪的旋轉加速度;
M1: 流體的驅動力拒;
M2: 粘性阻力矩;
M3: 軸承摩擦阻力矩;
M4: 磁阻力矩。
當葉輪以恒速旋轉時,
0,則M1=M2+M3+M4。
經理論分析與實驗驗證可得
公式4
式中 n: 葉輪轉速;
qv: 體積流量;
A: 與流體物性(密度、粘度等),葉輪結構參數(葉片傾角、葉輪直徑、
流道截面積等)有關的系數;
B: 與葉片頂隙,流體流速分布有關的系數;
C: 與摩擦力矩有關的系數。
國內外學者提出許多理論流量方程,它們適用于各種傳感器結構及流體工作條件。至今渦輪儀表特性的水動力學特性仍舊不很清楚,它與流體物性及流動特性有復雜的關系。比如當流場有旋渦和非對稱速度分布時水動力學特性就非常復雜。不能用理論式推導儀表系數,儀表系數仍需由實流校驗確定。但是理論流量方程有巨大的實用意義,它可用于指導傳感器結構參數設計及現場使用條件變化時儀表系數變化規律的預測和估算。
三、產品特點
1. 高 度,一般可達±1%R、±0.5%R,高精度型可達±0.2%R;
2. 重復性好,短期重復性可達0.05%~0.2%,正是由于具有良好的重復性,如經常校準或在線校準可得到極高的 度,在貿易結算中是優先選用的流量計;
3. 輸出脈沖頻率信號,適于總量計量及與計算機連接,無零點漂移,抗干擾能力強;
4. 可獲得很高的頻率信號(3~4kHz),信號分辨力強;
5. 范圍度寬,中大口徑可達1:20,小口徑為1:10;
6. 結構緊湊輕巧,安裝維護方便,流通能力大;
7. 適用高壓測量,儀表表體上不必開孔,易制成高壓型儀表;
8. 專用型傳感器類型多,可根據用戶特殊需要設計為各類專用型傳感器,例如低溫型、雙向型、井下型、混砂專用型等;
9. 可制成插入型,適用于大口徑測量,壓力損失小,價格低,可不斷流取出,安裝維護方便。
四、基本參數與技術性能
1.技術性能
1
儀表口徑及連接方式 | 4、6、10、15、20、25、32、40采用螺紋連接 (15、20、25、32、40)50、65、80、100、125、150、200采用法蘭連接 |
精度等級 | ±1%R、±0.5%R、±0.2%R(需特制) |
量程比 | 1:10;1:15;1:20 |
儀表材質 | 304不銹鋼、316(L)不銹鋼等 |
被測介質溫度(℃) | -20~+120℃ |
環境條件 | 溫度-10~+55℃,相對濕度5%~90%,大氣壓力86~106Kpa |
輸出信號 | 傳感器:脈沖頻率信號,低電平≤0.8V 高電平≥8V 變送器:兩線制4 ~ 20mADC電流信號 |
供電電源 | 傳感器:+12VDC 、+24VDC(可選) 變送器:+24VDC 現場顯示型:儀表自帶3.2V鋰電池 |
信號傳輸線 | STVPV3×0.3(三線制),2×0.3(二線制) |
傳輸距離 | ≤1000m |
信號線接口 | 基本型:豪斯曼接頭,防爆型:內螺紋M20×1.5 |
防爆等級 | 基本型:非防爆產品,防爆型:ExdIIBT6 |
防護等級 | IP65 |
2.測量范圍及工作壓力
表2
儀表口徑 (mm) | 正常流量范圍(m3/h) | 擴展流量范圍(m3/h) | 常規耐受壓力 (MPa) | 特制耐壓等級(MPa) (法蘭連接方式) |
DN 4 | 0.04~0.25 | 0.04~0.4 | 6.3 | 12、16、25 |
DN 6 | 0.1~0.6 | 0.06~0.6 | 6.3 | 12、16、25 |
DN 10 | 0.2~1.2 | 0.15~1.5 | 6.3 | 12、16、25 |
DN 15 | 0.6~6 | 0.4~8 | 6.3、2.5(法蘭) | 4.0、6.3、12、16、25 |
DN 20 | 0.8~8 | 0.45~9 | 6.3、2.5(法蘭) | 4.0、6.3、12、16、25 |
DN 25 | 1~10 | 0.5~10 | 6.3、2.5(法蘭) | 4.0、6.3、12、16、25 |
DN 32 | 1.5~15 | 0.8~15 | 6.3、2.5(法蘭) | 4.0、6.3、12、16、25 |
DN 40 | 2~20 | 1~20 | 6.3、2.5(法蘭) | 4.0、6.3、12、16、25 |
DN 50 | 4~40 | 2~40 | 2.5 | 4.0、6.3、12、16、25 |
DN 65 | 7~70 | 4~70 | 2.5 | 4.0、6.3、12、16、25 |
DN 80 | 10~100 | 5~100 | 2.5 | 4.0、6.3、12、16、25 |
DN 100 | 20~200 | 10~200 | 2.5 | 4.0、6.3、12、16、25 |
DN 125 | 25~250 | 13~250 | 1.6 | 2.5、4.0、6.3、12、16 |
DN 150 | 30~300 | 15~300 | 1.6 | 2.5、4.0、6.3、12、16 |
DN 200 | 80~800 | 40~800 | 1.6 | 2.5、4.0、6.3、12、16 |
五、儀表分類
1.按儀表功能分類,CY-LWGY系列渦輪流量計可分為2大類,即:
l 渦輪流量傳感器/變送器
l 智能一體化渦輪流量計
2.功能說明
l 渦輪流量傳感器/變送器
該類渦輪流量產品本身不具備現場顯示功能,僅將流量信號遠傳輸出。流量信號可分為脈沖信號或電流信號(4-20mA);儀表價格低廉,集成度高,體積小巧,特別適用于與二次顯示儀、PLC、DCS等計算機控制系統配合使用。
按照不同的輸出信號,該類產品可分為CY-LWGY-□N型和CY-LWGY-□A型
CY-LWGY-□N型傳感器:12~24VDC供電,三線制脈沖輸出,高電平≥8V,低電平≤0.8V;信號傳輸距離≤1000米;
CY-LWGY-□A型變送器:24VDC供電,二線制4-20mA 輸出,信號傳輸距離≤1000。
該類渦輪流量產品均分為基本型和防爆型(ExdIIBT6)兩種,外形如圖

圖3 圖4
基本型傳感器/變送器 防爆型傳感器/變送器
l 智能一體化渦輪流量計
采用 的超低功耗單片微機技術研制的渦輪流量傳感器與顯示積算一體化的新型智能儀表,采用雙排液晶現場顯示,具有機構緊湊、讀數直觀清晰、可靠性高、不受外界電源干擾、抗雷擊、成本低等明顯優點。儀表具備儀表系數三點修正,智能補償儀表系數非線性,并可進行現場修正。高清晰液晶顯示器同時顯示瞬時流量(4 位有效數字)及累積流量(8位有效數字,帶清零功能)。所有有效數據掉電后保持10年不丟。該類渦輪流量計均為防爆產品,防爆等級為:ExdIIBT6。
該類渦輪流量計按照供電方式、是否具備遠傳信號輸出可分為CY-LWGY-□B型和CY-LWGY-□C型。
CY-LWGY-□B型:供電電源采用3.2V10AH鋰電池(可連續運行4年以上); 無信號輸出功能。
CY-LWGY-□C型:供電電源采用24VDC外供電,輸出4-20mA標準兩線制電流信號,并可根據不同的現場需要,可增加RS485或HART通訊。

圖5
智能一體化渦輪流量計
六、安裝尺寸
傳感器的安裝方式根據規格不同,采用螺紋或法蘭連接,安裝方式見圖6、圖7、圖8,安裝尺寸見表4。

整表結構圖 過濾器結構圖
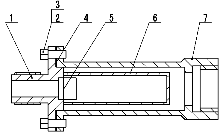
1.過濾器 2.前直管段 3.葉輪 4.前置放大器 5.殼體 6.后直管段 1.壓緊圈 2.螺栓4×14 3.墊圈 4.密封墊圈
5.鋼絲1Cr18Ni9Ti-0.8×2.5 6.過濾網 7.座
圖6 CY-LWGY-4~10傳感器結構及安裝尺寸示意圖

1. 殼體 2.前導向件 3.葉輪 4.后導向件 5.前置放大器
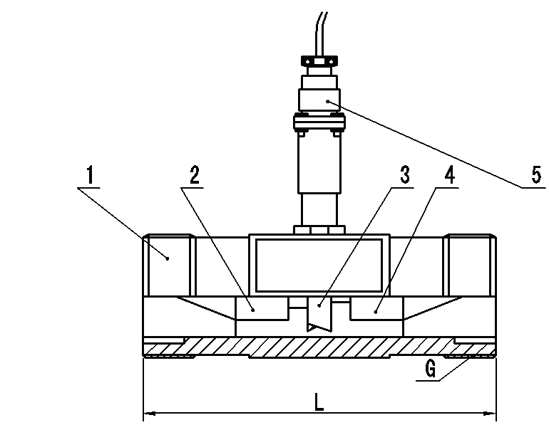
圖7 CY-LWGY-15~40傳感器結構及安裝尺寸示意圖

1. 球軸承 2.前導向件 3.漲圈 4.殼體
5.前置放大器 6.葉輪 7.軸承 8.軸
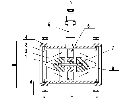
圖8 CY-LWGY-50~200傳感器結構及安裝尺寸示意圖
表4
公稱通徑(mm) | L(mm) | G | D(mm) | d(mm) | 孔數 |
4 | 295 | G1/2 | |||
6 | 330 | G1/2 | |||
10 | 450 | G1/2 | |||
15 | 75 | G1 | Ф65 | Ф14 | 4 |
20 | 80 | G1 | Ф75 | Ф14 | 4 |
25 | 100 | G5/4 | Ф85 | Ф14 | 4 |
32 | 140 | G2 | Ф100 | Ф14 | 4 |
40 | 140 | G2 | Ф110 | Ф18 | 4 |
50 | 150 | Ф125 | Ф18 | 4 | |
65 | 170 | Ф145 | Ф18 | 4 | |
80 | 200 | Ф160 | Ф18 | 8 | |
100 | 220 | Ф180 | Ф18 | 8 | |
125 | 250 | Ф210 | Ф25 | 8 | |
150 | 300 | Ф250 | Ф25 | 8 | |
200 | 360 | Ф295 | Ф23 | 12 |
七、流量計安裝注意事項
(1)安裝場所

傳感器應安裝在便于維修,管道無振動、無強電磁干擾與熱輻射影響的場所。渦輪流量計的典型安裝管路系統如圖9所示。圖中各部分的配置可視被測對象情況而定,并不一定全部都需要。渦輪流量計對管道內流速分布畸變及旋轉流是敏感的,進入傳感器應為充分發展管流,因此要根據傳感器上游側阻流件類型配備必要的直管段或流動調整器,如表5所示。若上游側阻流件情況不明確,一般推薦上游直管段長度不小于20D,下游直管段長度不小于5D,如安裝空間不能滿足上述要求,可在阻流件與傳感器之間安裝流動調整器。傳感器安裝在室外時,應有避直射陽光和防雨淋的措施。
圖9
表5
上游側阻流件類型 | 單個90o彎頭 | 在同一平面上的兩個90o彎頭 | 在不同平面上的兩個90o彎頭 | 同心漸縮管 | 全開閥門 | 半開閥門 | 下游側長度 |
l/DN | 20 | 25 | 40 | 15 | 20 | 50 | 5 |
(2)連接管道的安裝要求
水平安裝的傳感器要求管道不應有目測可覺察的傾斜(一般在5°以內),垂直安裝的傳感器管道垂直度偏差亦應小于5°。
需連續運行不能停流的場所,應裝旁通管和可靠的截止閥(見圖9),測量時要確保旁通管無泄漏。
在新鋪設管道裝傳感器的位置先介入一段短管代替傳感器,待:“掃線”工作完畢確認管道內清掃干凈后,再正式接入傳感器。由于忽視此項工作,掃線損壞傳感器屢見不鮮。
若流體含雜質,則應在傳感器上游側裝過濾器,對于不能停流的,應并聯安裝兩套過濾器輪流清除雜質,或選用自動清洗型過濾器。若被測液體含有氣體,則應在傳感器上游側裝消氣器。過濾器和消氣器的排污口和消氣口要通向安全的場所。
若傳感器安裝位置處于管線的低點,為防止流體中雜質沉淀滯留,應在其后的管線裝排放閥,定期排放沉淀雜質。
被測流體若為易氣化的液體,為防止發生氣穴,影響測量 度和使用期限,傳感器的出口端壓力應高于公式5計算的 壓力pmin
pmin=2△p+1.25pv Pa
公式5
式中 pmin—— 壓力,Pa;
△p——傳感器 流量時壓力損失,Pa;
pv——被測液體 使用溫度時飽和蒸汽壓,Pa。
流量調節閥應裝在傳感器下游,上游側的截止閥測量時應全開,且這些閥門都不得產生振動和向外泄漏。對于可能產生逆向流的流程應加止回閥以防止流體反向流動。
傳感器應與管道同心,密封墊圈不得凸入管路。液體傳感器不應裝在水平管線的 點,以免管線內聚集的氣體(如停流時混入空氣)停留在傳感器處,不易排出而影像測量。
傳感器前后管道應支撐牢靠,不產生振動。對易凝結流體要對傳感器及其前后管道采取保溫措施。
八、接線方式
l 渦輪流量傳感器/變送器(CY-LWGY-□N 型、CY-LWGY-□A型)
1. 基本型
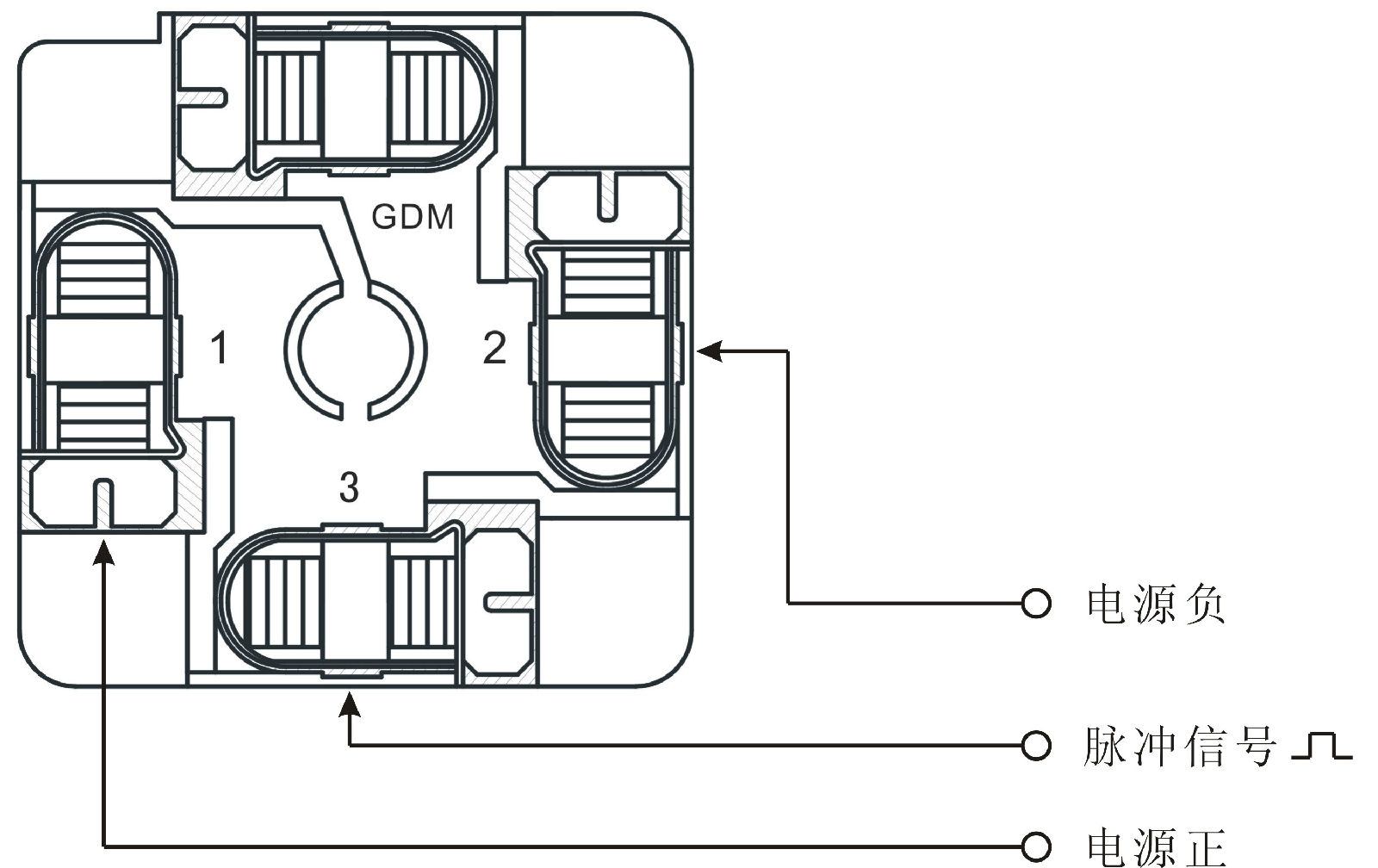
首先將豪斯曼接頭上部的螺絲松開拔下接頭部分,接頭部分結構如圖10a所示,從缺口處撬開接線端子,接線端子如圖10b所示。

CY-LWGY-□N 型渦輪流量傳感器接線方式:

圖11
儀表出廠前均已接線完畢并配帶5米引線,客戶可直接使用。引線接線方式請參照實際產品的屏蔽線末端的接線提示標簽。
CY-LWGY-□A型渦輪流量變送器接線方式:

圖12
\
2.防爆型
CY-LWGY-□N 型渦輪流量傳感器接線方式:

圖13
CY-LWGY-□A型渦輪流量變送器接線方式:

圖14
l 智能一體化渦輪流量計(CY-LWGY-□C型)

圖15
九、調試與使用
CY-LWGY-□N 基本型渦輪流量傳感器
基本型渦輪流量傳感器出廠前已進行了標定與調整,無需調試
傳感器與二次顯示儀表連接:首先核對傳感器的輸出特性(輸出脈沖的頻率范圍、幅值、脈寬等)與顯示儀表輸入特性是否相配。按照傳感器的儀表系數設定顯示儀表的參數設置。核對傳感器電源和線制,以及阻抗匹配。還要考慮傳感器的前置放大器防電磁干擾,如在室外還應采取防雨淋等措施。
傳輸電纜通常用帶屏蔽和防護套的雙芯或三芯通信電纜,有效截面積1.25~2mm2多股銅線。屏蔽線只能一端接地, 在顯示儀表端接地。盡可能用一根完整的電纜(即中間不接續)。電纜 裝入金屬管里,以避免機械損傷。該金屬管如同時裝入另一電纜,則該電纜輸送 功率不能大于本儀表流量信號電纜輸送最小功率的10倍。
傳輸電纜的路徑不應與動力電源線平行,也不要敷設在動力電源線集中的區域,以避免電磁場的干擾。
CY-LWGY-□A 型渦輪流量變送器
根據客戶的訂貨要求,A型渦輪流量變送器的流量輸出零點和滿度值在出廠前已經調試好。
在流量計運行后,如果現場需要對流量計的零點輸出進行調整,按以下方法進行:
關閉流量計管道的閥門,確認管道內沒有流量;接通流量計電源;串入電流表(萬用表的直流電流檔),監視流量計的輸出電流;微調轉換器電路板上的W502電位器,使輸出電流回到4mA。
在流量計運行后,流量計的滿度輸出值在現場不能進行再調整;如需調整,請將流量計返廠,由廠家根據您的要求在標準流量裝置上完成。
CY-LWGY-□B 型智能現場顯示渦輪流量計
l 儀表內置參數設定:( 授權工程師操作)
01. 儀表面板按鍵操作說明
? 進入(退出)參數設定菜單:工作狀態下同時按
鍵和F鍵;
? 光標位向右移位:參數設定狀態下按
鍵
? 光標位數值加1:參數設定狀態下按
鍵
? 參數菜單切換:參數設定狀態下按F鍵;
? 累積流量清零:工作狀態下同時按F鍵和
鍵。
02. 內部參數說明
儀表程序共有三個菜單,分三屏顯示,均為儀表測量范圍內三點系數修正,上排為流量點頻率值,下排為該流量點儀表系數。三個菜單可用F鍵循環切換。
各菜單顯示方式及功能如圖16

圖16
注:儀表出廠前儀表參數均已設置,無特殊情況無需改動;使用三點儀表系數進行流量傳感器的非線性修正需要用戶清楚的知道傳感器不同流量點(頻率點)對應的儀表系數。
CY-LWGY-□C 型智能現場顯示帶4-20mA輸出渦輪流量計
01.儀表面板按鍵操作說明
同電池供電現場顯示型渦輪流量計
02.內部參數說明
儀表程序共有四個菜單,分四屏顯示,前三個菜單為儀表測量范圍內三點系數修正,與電池供電現場顯示型渦輪流量計完全相同;第四個菜單為4-20mA輸出滿度值(即20mA對應的流量點)。四個菜單可用F鍵循環切換。
1至3菜單顯示方式及功能與電池供電現場顯示型渦輪流量計相同,第四個菜單顯示方式及功能如圖17

圖17
十、使用注意事項
(1)投入運行的啟閉順序
未裝旁路管的流量傳感器,先以中等開度開啟流量傳感器上游閥,然后緩慢開啟下游閥。以較小流量運行一段時間(如10分鐘),然后全開上游閥,再開大下游閥開度,調節到所需正常流量。
裝有旁路管的流量傳感器,先全開旁路管閥,以中等開度開啟上游閥,緩慢開啟下游閥,關小旁路閥開度,使儀表以較小流量運行一段時間。然后全開上游閥,全關旁路閥(要保證無泄漏), 調節下游閥開度到所需的流量。
(2)低溫和高溫流體的啟用
低溫流體管道在通流前要排凈管道中的水分,通流時先以很小流量運行15分鐘,再漸漸升高至正常流量。停流時也要緩慢進行,使管道溫度和環境溫度逐漸接近。高溫流體運行與此相類似。
(3)其他注意事項
啟閉閥應盡可能平緩,如采用自動控制啟閉, 用“兩段開啟,兩段關閉”方式,防止流體突然沖擊葉輪甚至發生水錘現象損壞葉輪。
檢查流量傳感器下游壓力。當管道壓力不高,在投入運行初期觀察 流量下傳感器下游壓力是否大于公式5計算的pmin,否則應采取措施以防止產生氣穴。
流量傳感器的儀表系數是經過標準裝置校驗后,供給用戶校驗單上寫明的,謹防丟失。傳感器長期使用因軸承磨損等原因,儀表系數會發生變化,應定期進行離線或在線校驗。若流量超出允許范圍,應更換傳感器。
有些測量對象,如輸送成品油管線更換油品或停用時,需定期進行掃線清管工作。掃線清管所用流體的流向、流量、壓力和溫度等均應符合渦輪流量計的規定,否則會引起 度降低甚至損壞。
為保證流量計長期正常工作,要加強儀表的運行檢查,一旦發現異常及時采取措施排除。監測葉輪旋轉情況,如聽到異常聲音,用示波器監測檢測線圈輸出波形,如有異常波形,應及時卸下檢查傳感器內部零件。如懷疑有不正常現象應及時檢查。保持過濾器暢通,過濾器可從出入口壓力計的壓差來判斷是否堵塞。要定期排放消氣器中從液體逸出的氣體等等。
十一、常見故障及處理方法
表6
故 障 現 象 | 可 能 原 因 | 消 除 方 法 |
流體正常流動時無顯示,總量計數器字數不增加 | 1) 檢查電源線、保險絲、功能選擇開關和信號線有無斷路或接觸不良 2) 檢查顯示儀內部印刷版,接觸件等有無接觸不良 3) 檢查檢測線圈 4) 檢查傳感器內部故障,上述1)~3)項檢查均確認正常或已排除故障,但仍存在故障現象,說明故障在傳感器流通通道內部,可檢查葉輪是否碰傳感器內壁,有無異物卡住,軸和軸承有無雜物卡住或斷裂現象 | 1) 用歐姆表排查故障點 2) 印刷板故障檢查可采用替換“備用版”法,換下故障板再作細致檢查 3) 做好檢測線圈在傳感器表體上位置標記,旋下檢測頭,用鐵片在檢測頭下快速移動,若計數器字數不增加,則應檢查線圈有無斷線和焊點脫焊 4) 去除異物,并清洗或更換損壞零件,復原后氣吹或手撥動葉輪,應無摩擦聲,更換軸承等零件后應重新校驗,求得新的儀表系數 |
未作減小流量操作,但流量顯示卻逐漸下降 | 按下列順序檢查: 1) 過濾器是否堵塞,若過濾器壓差增大,說明雜物已堵塞 2) 流量傳感器管段上的閥門出現閥芯松動,閥門開度自動減少 3) 傳感器葉輪受雜物阻礙或軸承間隙進入異物,阻力增加而減速減慢 | 1) 清除過濾器 2) 從閥門手輪是否調節有效判斷,確認后再修理或更換 3) 卸下傳感器清除,必要時重新校驗 |
流體不流動,流量顯示不為零,或顯示值不穩 | 1) 傳輸線屏蔽接地不良,外界干擾信號混入顯示儀輸入端 2) 管道振動,葉輪隨之抖動,產生誤信號 3) 截止閥關閉不嚴泄漏所致,實際上儀表顯示泄漏量 4) 顯示儀內部線路板之間或電子元件變質損壞,產生的干擾 | 1) 檢查屏蔽層,顯示儀端子是否良好接地 2) 加固管線,或在傳感器前后加裝支架防止振動 3) 檢修或更換閥 4) 采取“短路法”或逐項逐個檢查,判斷干擾源,查出故障點 |
顯示儀示值與經驗評估值差異顯著 | 1) 傳感器流通通道內部故障如受流體腐蝕,磨損嚴重,雜物阻礙使葉輪旋轉失常,儀表系數變化 葉片受腐蝕或沖擊,頂端變形,影響正常切割磁力線,檢測線圈輸出信號失常,儀表系數變化;流體溫度過高或過低,軸與軸承膨脹或收縮,間隙變化過大導致葉輪旋轉失常,儀表系數變化 2) 傳感器背壓不足,出現氣穴,影響葉輪旋轉 3) 管道流動方面的原因,如未裝止回閥出現逆向流動 旁通閥未關嚴,有泄漏 傳感器上游出現較大流速分布畸變(如因上游閥未全開引起的)或出現脈動 液體受溫度引起的粘度變化較大等 4) 顯示儀內部故障 5) 檢測器中永磁材料元件時效失磁,磁性減弱到一定程度也會影響測量值 6) 傳感器流過的實際流量已超出該傳感器規定的流量范圍 | 1)~4) 查出故障原因,針對具體原因尋找對策 5) 更換失磁元件 6) 更換合適的傳感器 |
十二、運輸、貯存
傳感器應裝入堅固的木箱(小口徑儀表可用紙箱)內,不允許在箱內自由竄動,在搬運時小心輕放,不允許野蠻裝卸。
存放地點應符合以下條件:
1. 防雨防潮。
2. 不受機械震動或沖擊。
3. 溫度范圍-20℃~+55℃。
4. 相對濕度不大于80%。
5. 環境中不含腐蝕性氣體。
十三、開箱注意事項
開箱后,按裝箱單檢查文件和附件是否齊全。裝箱文件有:使用說明書一份、檢定證書一張、裝箱單一張。觀察傳感器是否有因運輸而產生損壞等現象,以便妥善處理。望用戶妥善保存“檢定證書”切勿丟失,否則無法設定儀表系數。
十四、訂貨須知
用戶在定購渦輪流量傳感器時要注意根據流體的公稱口徑、工作壓力、工作溫度、流量范圍、流體種類和環境條件選擇合適的規格。當有防爆要求時必須選防爆型傳感器,并嚴格注意防爆等級。
需要我公司的顯示儀表配套時,請參閱相應的說明書,選用合適的型號,或由我公司技術人員根據您提供的資料替您設計選型。需要傳輸信號用的電纜時注明規格長度。
尊敬的客戶您好!
如果您想索取產品資料、獲取選型報價或是深入了解更多產品信息,歡迎添加官方微信 ,掃描下方二維碼即可。添加后將有專業工程師為您提供一對一的服務,隨時解答您的疑問。

- 上一篇:CY-MFC系列熱式氣體質量流量計
- 下一篇:



